[日本转运6号库晒单] ems 4天到手,速度相当快
2015-10-23
东西少,主要为了给老公买剃须刀,顺便帮朋友买的唇膏什么的。
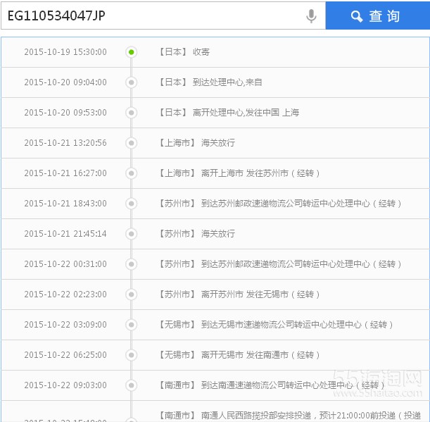
为了老公的剃须刀,日亚买的第三方的,而且买完第二天就降价,等了四天才发货,6天到了转运公司。到了转运仓库,我就立即申请发货了。走的国际ems,这里我要好好表扬6号库的客服,本来两个包裹2.03Kg,合并后只有1.25kg,替我省了50大洋。非常感谢。
买了几支DHC唇膏和和光堂婴幼儿唇膏,还有和光堂爽身粉,小林洗净丸,花王眼罩,CHUCHU宝宝霜。还有老公的剃须刀5030S.比国内省了好多大洋。

为了老公的剃须刀,日亚买的第三方的,而且买完第二天就降价,等了四天才发货,6天到了转运公司。到了转运仓库,我就立即申请发货了。走的国际ems,这里我要好好表扬6号库的客服,本来两个包裹2.03Kg,合并后只有1.25kg,替我省了50大洋。非常感谢。
买了几支DHC唇膏和和光堂婴幼儿唇膏,还有和光堂爽身粉,小林洗净丸,花王眼罩,CHUCHU宝宝霜。还有老公的剃须刀5030S.比国内省了好多大洋。












